
LR-08: Индуктивные датчики с цилиндрическим корпусом М08х1
Описание бесконтактных индуктивных датчиков ONDO
Серия LR-08 отличается миниатюрными размерами и корпусом выполненным из нержавеющей стали. Датчик оборудован 2-х метровым кабелем и доступен в модификациях с транзисторным выходом PNP/NPN и логикой срабатывания НО/НЗ. Все это делает датчики отличным решением для точного контроля работы механизмов.
Например, датчики LR-08 применяются:
- для контроля крайних положения(открытия/закрытия) задвижек и клапанов,
- в качестве датчиков крайних(аварийных) положений на ЧПУ-станках,
- для отслеживания скорости вращения шестерен(или других вращающихся объектов).
Модификации датчиков ONDO серии LR-08
|
LR-08N-02NO-D2 Бесконтактный индуктивный датчик (М8х1, невстраиваемый, NPN, НО, 10-30В, 2мм, 1500Гц, IP67), кабель 2м
|
|
|
LR-08N-02PO-D2 Бесконтактный индуктивный датчик (М8х1, невстраиваемый, PNP, НО, 10-30В, 2мм, 1500Гц, IP67), кабель 2м
|
|
|
LR-08N-02NC-D2 Бесконтактный индуктивный датчик (М8х1, невстраиваемый, NPN, НЗ, 10-30В, 2мм, 1500Гц, IP67), кабель 2м
|
|
|
LR-08N-02PC-D2 Бесконтактный индуктивный датчик (М8х1, невстраиваемый, PNP, НЗ, 10-30В, 2мм, 1500Гц, IP67), кабель 2м
|
Принцип действия индуктивных датчиков ONDO

В качестве чувствительного элемента (ЧЭ) применяется электромагнитный излучатель (катушка индуктивности). Совместно с генератором ЧЭ формирует колебательный контур. Во время работы он генерирует электромагнитное поле.
При внесении отслеживаемого объекта (металлическая пластина) в это поле, на его поверхности возникают вихревые токи. В результате изменяются электрические параметры колебательного контура (амплитуда, частота тока). Датчик отслеживает изменение параметров и определяет наличие или отсутствие объектов в рабочей зоне.
Для сигнализации о приближении объекта используется дискретный или аналоговый сигнал.
При подборе датчика необходимо ориентироваться на Гарантированный рабочий диапазон (Sa) — это расстояние от активной поверхности ЧЭ, в пределах которого обеспечивается постоянное срабатывание датчика во всем диапазоне нормированных условий эксплуатации.
Зависимость гарантированного рабочего диапазона (Sa) индуктивных датчиков от внешних факторов
Рабочий диапазон индуктивных датчиков зависит от целого ряда внешних факторов, самые ключевые из которых:
-
Материал объекта воздействия — при работе с объектами из различных металлов и сплавов Sa может уменьшиться.
Зависимость рабочего диапазона Sa от используемого материала Материал объекта
воздействияИзменение рабочего
диапазона SaСталь Ст3 100% Sn Чугун 93…105% Sn Никель 65…75% Sn Нерж.сталь 60…100% Sn Алюминий 30…45% Sn Латунь 35…50% Sn Медь 25…45% Sn -
Размер объекта воздействия — если объект воздействия имеет размеры меньше стандартного, то Sa так же может измениться.

Зависимость номинального рабочего диапазона от размера объекта воздействия Во время работы датчик будет сигнализировать о приближении объекта, когда расстояние до его поверхности не будет превышать значение Sn. В качестве стандартного объекта воздействия, используется квадратная пластина (из стали Ст3), толщиной 1 мм и сторонами не менее 3*Sn мм. В случае применения объектов, отличающихся от стандартного номинальное расстояние срабатывания будет отличаться.
Если фактическая площадь поверхности объекта меньше площади стандартного объекта, то номинальный рабочий диапазон уменьшается.
| Параметр | Значение |
|---|---|
| Способ установки датчика | утапливаемое / неутапливаемое исполнение |
| Номинальный рабочий диапазон (Sn) | 1,5 мм / 2 мм (зависит от модели) |
| Гарантированный рабочий диапазон (Sa) | 0…0,8*Sn |
| Стандартный объект воздействия | стальная пластина со сторонами 3Sn*3Sn*1 мм |
| Тип корпуса | цилиндрический с резьбой и контр. гайками |
| Напряжение питания | =10…30 В |
| Потребляемый ток | не более 10 мА |
| Тип выходного сигнала | PNP / NPN (транзисторный) |
| Частота переключения |
при Sn 1,5 мм: 2 кГц при Sn 2 мм: 1,5 кГц |
| Максимальная нагрузка дискретного выхода | не более 150 мА |
| Допустимая температура окружающей среды | -25…+70 °С |
| Допустимая влажность воздуха окружающей среды | 35…95 % |
| Встроенная защита |
защита от короткого замыкания, защита от перегрузки, защита от обратной полярности |
| Сопротивление изоляции | ≥50 МОм (=500 В) |
| Защита от внешних воздействий | IP67 |
| Сигнализация срабатывания | светодиод на корпусе |
| Материал корпуса | нержавеющая сталь |
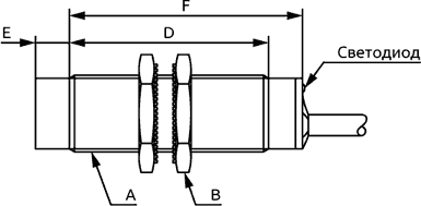
Габаритные размеры индуктивных датчиков ONDO серии LR-08
| Артикул | A | B | C | D | E | F |
|---|---|---|---|---|---|---|
| Датчики с дискретным выходным сигналом | ||||||
| LR-08N-… | М8х1 | ключ на 12 | 65 | 40 | 3 | 40 |
| LR-08F-… | М8х1 | ключ на 12 | 65 | 40 | 0 | 40 |
Схемы соединения индуктивных датчиков ONDO LR-08
| LR | - | 08 | - | O | - | D | |||||
|---|---|---|---|---|---|---|---|---|---|---|---|
| Серия | |||||||||||
| Цилиндрический корпус | LR | ||||||||||
| Типоразмер корпуса | |||||||||||
| М8х1 | 08 | ||||||||||
| Способ установки датчика в металл | |||||||||||
| Утапливаемое исполнение | F | ||||||||||
| Неутапливаемое исполнение | N | ||||||||||
| Номинальный рабочий диапазон (Sn) | |||||||||||
| Рабочее расстояние 1,5 мм | 01 | ||||||||||
| Рабочее расстояние 2 мм | 02 | ||||||||||
| Тип выходного сигнала | |||||||||||
| PNP | P | ||||||||||
| NPN | N | ||||||||||
| Логика выходного сигнала | |||||||||||
| НО | O | ||||||||||
| НЗ | C | ||||||||||
| Номинальное напряжение питания | |||||||||||
| =24 В | D | ||||||||||
| Способ подключения | |||||||||||
| Кабель (2 метра) | 2 | ||||||||||
| Разъем М12 (4 пина) | C | ||||||||||
Пример: LR-08N-02PO-DС.



