Поиск

Каталог приборов

Новости

Статус ремонта прибора

LSB Блок концевых выключателей для пневмоприводов PNA-DA и PNA-SA

LSB Блок концевых выключателей для пневмоприводов PNA-DA и PNA-SA

Краткое описание

Технические характеристики

Модификации

LSB-2M Блок концевых выключателей (БКВ) для пневмоприводов PNA-DA и PNA-SA диаметрами 40...240 мм, контакты: 2 SPDT (0/90°), ~250В/=24В, 3А, визуальный индикатор Open(желтый)-Closed(красный)

 

Описание блока концевых выключателей VALMA серии LSB

Блоки концевых выключателей (БКВ) серии LSB устанавливаются на пневматические приводы VALMA вместо стандартного визуального индикатора.

БКВ имеет два встроенных микропереключателя с контактами типа SPDT, рассчитанными на напряжение до 250 В. Данные микропереключатели срабатывают в конечных положениях вала пневмопривода, соответствующих открытому и закрытому положениям присоединенной к приводу арматуры (например, шарового крана или дискового затвора). Благодаря использованию БКВ становится возможным передавать информацию о положении трубопроводной арматуры (открыто/закрыто) в автоматизированные системы управления, что позволяет повысить надежность системы в целом и упрощает проведение диагностики при обнаружении неисправностей.

В верхней части блока концевых выключателей расположена двухцветная полусфера визуального индикатора. Если присоединенная трубопроводная арматура закрыта, то видна только красная часть полусферы с надписью CLOSED; если открыта — только желтая с надписью OPEN. Данный визуальный индикатор хорошо виден издалека, чем упрощает осмотр оборудования, а цветовое различие открытого и закрытого положения уменьшает вероятность ошибочного восприятия информации.

 

Состав блока концевых выключателей VALMA LSB

Состав LSB

 

Номер Наименование детали
1 Винты крышки визуального индикатора
2 Крышка визуального индикатора
3 Визуальный индикатор
4 Винты крышки БКВ
5 Этикетка
6 Крышка БКВ
7 Вал
8 Клемма заземления
9 Концевые выключатели
10 Клеммник
11 Резьба для кабельного ввода
12 Эксцентрики
13 Корпус

 

Технические характеристики блока концевых выключателей серии LSB

 

Параметр Значение
Тип визуального индикатора двухцветная полусфера:
ОТКРЫТО (Open) - желтый
ЗАКРЫТО (Closed) - красный
Полный угол поворота 90°
Количество и тип контактов 2 SPDT
Номинальное напряжение ~250 В, =24 В
Номинальный ток 3 A
Электрическое подключение клеммы с винтовым зажимом
Температура окр. среды -25…+85 °С
Степень защиты IP 67
Резьба кабельного ввода G 1/2″
Совместимые устройства - четвертьоборотные пневмоприводы, с возможностью
установки аксессуаров по стандарту VDI/VDE 3845 (NAMUR)
с монтажной площадкой 30х80 мм или 30х130 мм

- любые исполнительные механизмы с поворотом вала на 90°
(требует изготовления специального крепежа,
не входящего в комплект поставки)

 

Габаритные размеры блока концевых выключателей VALMA LSB

Блок концевых выключателей (БКВ) для пневмоприводов PNA-DA и PNA-SA

Габаритные размеры блока концевых выключателей LSB
Габаритные размеры блока концевых выключателей LSB, мм

 

Монтажные кронштейны (в комплекте с БКВ)

Монтажный кронштейн Тип-1
Габаритные размеры монтажного кронштейна, мм
Тип 1 (2 шт.)
Монтажный кронштейн Тип-2
Габаритные размеры монтажного кронштейна, мм
Тип 2 (2 шт.)
 

Схема подключения блока концевых выключателей VALMA серии LSB

Схема электрического подключения LSB-2M
Схема электрического подключения LSB-2M

 

Монтаж блока концевых выключателей LSB-2M

  1. Установите и закрепите кронштейны типа 1 на БКВ.
    Установка LSB, шаг 1
    Обратите внимание на то, что расположение кронштейнов на БКВ изменяется в зависимости от размеров монтажной площадки пневмопривода.
    PNA-xA-040 … PNA-xA-160
    PNA-xA-040 … PNA-xA-160
    PNA-xA-190 … PNA-xA-240
    PNA-xA-190 … PNA-xA-240
    Ближнее расположение монтажных кронштейнов
    Ближнее расположение монтажных кронштейнов
    Дальнее расположение монтажных кронштейнов
    Дальнее расположение монтажных кронштейнов
  2. Снимите визуальный индикатор с пневмопривода.
    Установка LSB, шаг 2
  3. Установите кронштейны типа 2 на пневмопривод и предварительно закрепите их. Не затягивайте соединение. Кронштейны должны оставаться подвижными.
    Установка LSB, шаг 3
  4. Установите вал БКВ в положение соответствующее положению вала пневмопривода и убедитесь, что направления вращения валов совпадают.
    Поверните вал БКВ рукой на 90° в направлении вращения вала привода и убедитесь, что вращению ничего не мешает, концевые выключатели работают корректно. Верните вал БКВ в исходное положение.
     

    Неправильное положение вала БКВ при монтаже или несовпадение направления вращения валов БКВ и пневмопривода может вызвать некорректную работу привода или поломку БКВ.

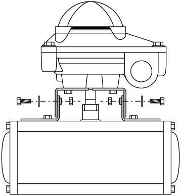
  5. Установите БКВ на пневмопривод и зафиксируйте кронштейны типа 1 и 2 между собой с помощью винтов. Обратите внимание на то, что кронштейны типа 1 (зафиксированные на БКВ) должны быть установлены снаружи, а кронштейны типа 2 (установленные на приводе) – внутри.
    Установка LSB, шаг 5
  6. Затяните винты фиксирующие кронштейны типа 2 на пневмоприводе.
 
Array ( )

Руководство по эксплуатации

Скачать Pasport_valma_11323.pdf